четвер, 12 березня 2020 р.
субота, 7 березня 2020 р.
Призначення, будова та принцип дії реактора
Реактори служать для обмеження струмів короткого замикання і є котушкою без сталевого сердечника, що володіє великим індуктивним і малим активним опорами. При коротких замиканнях реактор обмежує струм короткого замикання в ланцюзі завдяки значному індуктивному опору. Реактор, встановлений на приєднанні, дозволяє застосовувати апарати, що розміщуються за ним (трансформатори струму, роз'єднувачі, вимикачі), апарати і кабелі розподільної мережі, розташовані за реактивованною лінією, розраховані на менші термічні і динамічні дії струмів к.з. Це значно знижує вартість електричного обладнання розподільних пристроїв.пʼятниця, 6 березня 2020 р.
Призначення, будова та принцип дії відділювача
Відділювачі (роз'єднувачі, але з вбудованим механізмом для відключення) використовують для відключення трансформаторів без навантаження, а також для автоматичного відключення пошкоджених трансформаторів і ліній при знятті напруги. Вони можуть відключати намагнічуючі струми трансформаторів потужністю до 16 МВ • А при напрузі 35 кВ і 63 МВ • А при напрузі 110 кВ.
четвер, 5 березня 2020 р.
Схеми з’єднань статорних обмоток асинхронного двигуна
На щитку машини (мал. 1) знаходяться 6 затискачів, до яких приєднуються початки й кінці обмоток кожної фази. Для приєднання статорних обмоток до трифазної мережі їх можна з'єднати зіркою або трикутником, що дає змогу вмикати двигун у мережу з двома різними лінійними напругами. Наприклад, двигун може працювати від мережі з напругою 380 та 220 В. На щитку машини зазначено обидві напруги мережі, на які розрахований двигун, тобто 220/127 В або 380/220 В.
Схема реверсивного пуску асинхронного двигуна з короткозамкнутим ротором
Електрична схема (мал. 1) складається з автоматичного вимикача SF, кнопок керування SВ1...SВЗ, магнітних пускачів КМ1, КМ2, теплового реле РТ1, електродвигуна Д.
У схемі є силове коло, а також коло керування. До складу першого входять: автоматичний вимикач SF; силові контакти КМ1.1, КМ2.1 магнітних пускачів; котушки теплового реле РТ1; електродвигун Д, а до складу другого - кнопки «Стоп» (SВ1), «Вперед» (SВ2), «Назад» (SВЗ), котушки магнітних пускачів КМ1 і КМ2, блок-контакти КМ1.2, КМ1.3 та КМ2.2, КМ2.3 магнітних пускачів і контакт РТ1.1 теплового реле.
У схемі є силове коло, а також коло керування. До складу першого входять: автоматичний вимикач SF; силові контакти КМ1.1, КМ2.1 магнітних пускачів; котушки теплового реле РТ1; електродвигун Д, а до складу другого - кнопки «Стоп» (SВ1), «Вперед» (SВ2), «Назад» (SВЗ), котушки магнітних пускачів КМ1 і КМ2, блок-контакти КМ1.2, КМ1.3 та КМ2.2, КМ2.3 магнітних пускачів і контакт РТ1.1 теплового реле.
середа, 4 березня 2020 р.
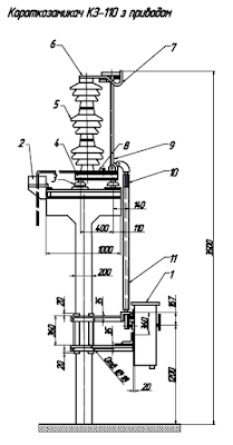
Призначення, будова та принцип дії короткозамикача
вівторок, 3 березня 2020 р.
Призначення, будова та принцип дії трьохполюсного роз'єднувача
Роз'єднувачі призначені для відключення і включення окремих ділянок мережі або устаткування, що знаходяться тільки під напругою, для відключення ділянок мережі з малими величинами струмів, а також для створення видимого розриву електричного ланцюга при роботах на лінії або устаткуванні. Роз'єднувачі розрізняються по роду установки (для внутрішньої і зовнішньої установки), напрузі (6, 10 кВ), струму (400, 630 А і більше), виконання – однополюсні, трьохполюсні і трьохполюсні із заземляючими ножами. Роз'ємну частину роз'єднувача виконують з лінійним або площинним контактом. У роз'єднувачах з лінійним контактом перехід струму здійснюється через ряд розташованих по одній лінії точок, в роз'єднувачах з площинним контактом – через декілька точок, розташованих на дотичних площинах.понеділок, 2 березня 2020 р.
Призначення, будова та принцип дії однополюсного роз'єднувача
Роз'єднувачі призначені для відключення і включення окремих ділянок мережі або устаткування, що знаходяться тільки під напругою, для відключення ділянок мережі з малими величинами струмів, а також для створення видимого розриву електричного ланцюга при роботах на лінії або устаткуванні.Роз'єднувачі розрізняються по роду установки (для внутрішньої і зовнішньої установки), напрузі (6, 10 кВ), струму (400, 630 А і більше), виконання – однополюсні, трьохполюсні і трьохполюсні із заземляючими ножами. Роз'ємну частину роз'єднувача виконують з лінійним або площинним контактом. У роз'єднувачах з лінійним контактом перехід струму здійснюється через ряд розташованих по одній лінії точок, в роз'єднувачах з площинним контактом – через декілька точок, розташованих на дотичних площинах. Управління роз'єднувачами в міських мережах проводять вручну: однополюсними – за допомогою ізолюючої штанги, трьохполюсними – за допомогою важельного приводу ПР. Роз'єднувач РВЗ має два приводи – один для основних, другий – для заземляючих ножів, причому передбачено блокування між валом основних і валом заземляючих ножів, що виключає можливість помилкових дій при операції цими ножами.
Підписатися на:
Коментарі (Atom)



